Tek Sıra Toplayıcı Menfezler
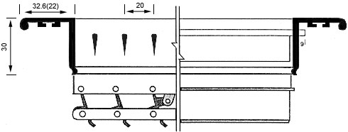
Emiş kanallarının ihtiyaç duyulan noktalarında kullanılır. Geniş ve dar kasalı olarak özel biçimlendirilmiş aliminyum profilden üretilir. Damper takılabilir kanatları yatay eksende sabit veya hareketli olabilir. Vidalı ve sustalı olarak monte edilen menfezler; tercihe göre eloksal, analog ve eloktro-statik fırın boyalı olarak imal edilir.